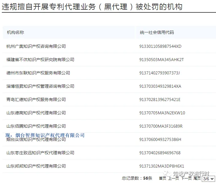
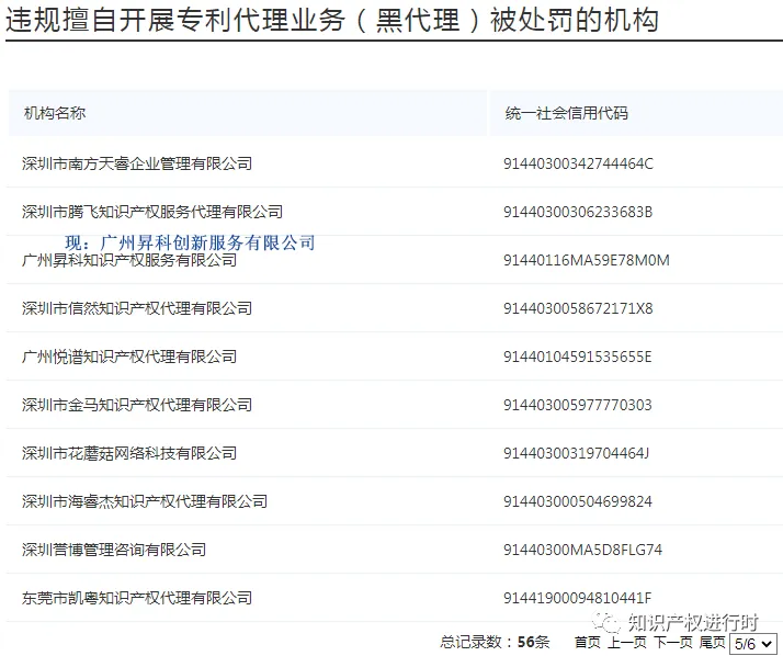
避雷:国知局发布提示,这56家机构相关行为存在风险
发布时间:2021-10-15 | 信息来源:瓯海市场监督管理局
全国专利代理信息公示平台中的风险名单主要对存在风险的代理机构和代理人员进行公示;日前,对56家违规擅自开展专利代理业务被处罚的机构进行公示:

注:下列代理机构和代理人员相关行为存在风险,现予以提示。






网址:http://dlgl.cnipa.gov.cn/txnqueryAgent.do

在机构名称处输入 合作代理机构名称 点击 查询 按钮
若,专利代理机构列表中显示 暂无数据 ,则该机构为未取得专利代理资质,擅自从事专利代理业务;若,专利代理机构列表中显示 对应的代理机构名称,则该代理机构具有专利代理资格。

国知局:专利、商标审查员离职两年内,不得在代理机构中从业