你好,欢迎来到浙江知识产权在线!
保护知识产权 就是保护创新
“叫了个炸鸡”山寨店被查,正牌店出来打假
发布时间:2022-03-03 | 信息来源:瓯海市场监督管理局

119日,眉山市市场监督管理局突击检查了网红外卖店叫了个炸鸡,调查中发现该店存在涂抹保质期和售卖过期食品,厕所里面解冻待加工鸡腿,生肉未覆盖保鲜膜等行为。


图片


12.20“台享叫了个炸鸡”发表严正声明,上图视频中的快餐店属盗用商标的侵权门店。


图片


现在市场上有人看到别人具有一定知名度的商标,就喜欢冒用赚取利益,可是这一行为属于违法行为。

我国刑法针对侵犯商标权罗列的罪名有三个,分别是假冒注册商标罪,销售假冒注册商标的商品罪,非法制造、销售非法制造的注册商标标识罪。

根据《中华人民共和国商标法》第五十七条,规定了七种侵犯注册商标专用权的的行为:

 

1.未经商标注册人的许可,在同一种商品上使用与其注册商标相同的商标的;
 
2.未经商标注册人的许可,在同一种商品上使用与其注册商标近似的商标,或者在类似商品上使用与其注册商标相同或近似的商标,容易导致混淆的;
 
3.销售侵犯注册商标专用权的商品的;
 
4.伪造、擅自制造他人注册商标标识或者销售伪造、擅自制造的注册商标标识的;
 
5.未经商标注册人同意,更换其注册商标并将该更换商标的商品又投入市场的;
 
6.故意为侵犯他人商标专用权行为提供便利条件,帮助他人实施侵犯商标专用权行为的;
 
7.给他人的注册商标专用权造成其他损害的;
 

《中华人民共和国刑法》第二百一十三条规定:“未经注册商标所有人许可,在同一种商品上使用与其注册商标相同的商标,情节严重的,处三年以下有期徒刑或者拘役,并处或者单处罚金;情节特别严重的,处三年以上七年以下有期徒刑,并处罚金”。

 

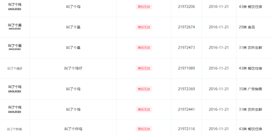
这几年“叫了个炸鸡”迅速走红,关于侵权事件已不是第一次。屡次出现此问题,也是上海台享餐饮管理有限公司在商标申请这块做的不足。多次申请“叫了个炸鸡”一系列商标全都没有成功注册。还因为违反广告法而被要求停止发布广告且罚款。


图片

图片




    商标名称不仅要个性,容易记住,还要能成功注册,才能保护自身的合法权益。如果遭受恶意侵犯,一定要拿起法律的武器维护自己的权益;作为市场的竞争者,也要时刻规范自己的行为,不要使用恶劣的竞争手段,更不要徘徊在违法的边缘哦!


主办单位:浙江省市场监督管理局(知识产权局) | 省保护中心专利快速审查咨询电话:0571-56788309
杭州代办处专利优先审查咨询电话:0571-88917568、0571-86412160 | 技术保障电话:0571-89765202(快速审查和优先审查请打业务电话)
备案序号 浙ICP备 19046660号| 网站标识码:3300000136 | 浙公网安备 33010602010565号
建议使用:1440*900分辨率/IE11或以上浏览器访问达到最佳效果